¶¶È¦Îª¶Ä¶øÉú

Ò»ÖÖÊÖ¶¯Ê½Æø¶¯µ÷Àí·§µÄÖÆ×÷ÒªÁì

×÷Õߣº»¢ÑÀ  ÈªÔ´£ºwww.cmpvalve.com  ¸üÐÂʱ¼ä£º2020-08-20 11:12:58  µã»÷´ÎÊý£º

¡¡¡¡±¾ÊÊÓÃÐÂÐÍÉæ¼°´¬²°µ÷Àí·§ÊÖÒÕÁìÓò£¬ÏêϸΪһÖÖÊÖ¶¯Ê½Æø¶¯µ÷Àí·§¡£

ÊÖ¶¯Ê½Æø¶¯µ÷Àí·§ÕûÌå½á¹¹Í¼


¡¡¡¡Åä¾°ÊÖÒÕ£º


¡¡¡¡Æø¶¯µ÷Àí·§¾ÍÊÇÒÔѹËõ¿ÕÆøÎª¶¯Á¦Ô´£¬ÒÔÆø¸×ΪִÐÐÆ÷£¬²¢½èÖúÓÚµçÆø·§ÃŶ¨Î»Æ÷¡¢×ª»»Æ÷¡¢µç´Å·§¡¢±¬Î¥·¨µÈ¸½¼þÈ¥Çý¶¯·§ÃÅ£¬ÊµÏÖ¿ª¹ØÁ¿»ò±ÈÀýʽµ÷Àí£¬ÎüÊÕ¹¤Òµ×Ô¶¯»¯¿ØÖÆÏµÍ³µÄ¿ØÖÆÐźÅÀ´Íê³Éµ÷Àí¹ÜµÀ½éÖʵÄÁ÷Á¿¡¢Ñ¹Á¦¡¢Î¶ȵÈÖÖÖÖ¹¤ÒÕ²ÎÊý£¬Æø¶¯µ÷Àí·§µÄÌØµã¾ÍÊÇ¿ØÖƼòÆÓ£¬·´Ó¦¿ìËÙ£¬ÇÒʵÖÊÇå¾²£¬²»ÐèÁíÍâÔÙ½ÓÄÉ·À±¬²½·¥£¬Æø¶¯µ÷Àí·§Í¨³£ÓÉÆø¶¯Ö´Ðлú¹¹ºÍµ÷Àí·§ÅþÁ¬×°Öõ÷ÊÔ×é³É£¬Æø¶¯Ö´Ðлú¹¹¿É·ÖΪµ¥×÷ÓÃʽºÍË«×÷ÓÃʽÁ½ÖÖ£¬µ¥×÷ÓÃÖ´ÐÐÆ÷ÄÚÓи´Î»µ¯»É£¬¶øË«×÷ÓÃÖ´ÐÐÆ÷ÄÚûÓи´Î»µ¯»É¡£ÆäÖе¥×÷ÓÃÖ´ÐÐÆ÷£¬¿ÉÔÚʧȥÆðÔ´»òͻȻ¹ÊÕÏʱ£¬×Ô¶¯¹éλµ½·§ÃųõʼËùÉèÖõĿªÆô»ò¹Ø±Õ״̬¡£


¡¡¡¡ÏÖÔÚÊг¡ÉÏͨÓÃµÄÆø¶¯µ÷Àí·§£¬Ò»Ñùƽ³£½ÓÄÉÂÝÎÆ¾ÙÐз§ÌåÀο¿¡£ÕâÖֽṹµ¼ÖÂÆø¶¯µ÷Àí·§²ð×°²»Òס£²»µ«Ìá¸ßÁËÊÖ¹¤²Ù×÷µÄÀͶ¯Ç¿¶È£¬ÇÒ¶à´Î²ð×°ºóÈÝÒ×·ºÆðÊý¾Ý½û¾øÈ·£¬Îó²î½Ï´óµÄÎÊÌâ¡£ÓÉÓÚ¼Ó¹¤Îó²î¡¢×°ÅäµÈ·½ÃæµÄÓ°Ï죬µ±Òƶ¯·§¸Ëʱ£¬·§°êÃÜ·âÃæºÍ·§×ùÃÜ·âÃæÖ®¼äµÄ±¬·¢Ò»¶¨¾àÀ룬µ±ÐèÒª¹Ø±Õ¸Ã·§Ê±£¬ÎÞ·¨µÖ´ïÈ«ÃÜ·â״̬£¬×ß©Á¿´ó£¬¾ßÓмӹ¤ÄÑÌâ¡¢±¾Ç®¸ßµÄÊÖÒÕȱÏÝ¡£


¡¡¡¡ÊÖÒÕʵÏÖÒªËØ£º


¡¡¡¡±¾ÊÊÓÃÐÂÐ͵ÄÄ¿µÄÔÚÓÚÌṩһÖÖÊÖ¶¯Ê½Æø¶¯µ÷Àí·§£¬Í¨¹ýÔÚ·§ÌåÍâ²àÉèÖõ÷ÀíÂݸË£¬Í¨¹ýÊÖ¶¯µ÷ÀíËø½ôÂÝÄ¸Ëø½ôÆø¶¯µ÷Àí·§£¬ÒÔ½â¾öÉÏÊöÅä¾°ÊÖÒÕÖÐÌá³öµÄÎÊÌâ¡£


¡¡¡¡ÎªÊµÏÖÉÏÊöÄ¿µÄ£¬±¾ÊÊÓÃÐÂÐÍÌṩÈçÏÂÊÖÒռƻ®£ºÒ»ÖÖÊÖ¶¯Ê½Æø¶¯µ÷Àí·§£¬°üÀ¨·§Ìå¡¢·§¸Ç¡¢·§°ê×é¼þ¡¢ÅþÁ¬Æ÷¡¢Éϲ¿·§¸Ë¡¢Ï²¿·§¸Ë¡¢µ¯»É¡¢µ¯»É×ù¡¢µ÷ÀíÂݸˡ¢Ëø½ôÂÝĸÒÔ¼°Æø¶¯Ö´ÐÐÆ÷£¬ËùÊöÆø¶¯Ö´ÐÐÆ÷ÉèÓÚËùÊö·§ÌåµÄÉÏ·½£¬ËùÊöÅþÁ¬Æ÷Ò»¶Ëͨ¹ýÉϲ¿·§¸ËÓëÆø¶¯Ö´ÐÐÆ÷ÅþÁ¬£¬ËùÊöÅþÁ¬Æ÷ÁíÒ»¶Ëͨ¹ýϲ¿·§¸ËÓë·§ÌåÀο¿ÅþÁ¬£¬ËùÊöµ÷ÀíÂݸËÉèÓÚËùÊöÅþÁ¬Æ÷Á½²à£¬ËùÊöËø½ôÂÝĸÐý½ÓÓëËùÊöµ÷ÀíÂݸËÉÏ£¬ËùÊö·§¸ÇÉèÓÚËùÊöÆø¶¯Ö´ÐÐÆ÷Óë·§ÌåÖ®¼ä£¬ËùÊöϲ¿·§¸Ë϶ËÉèÓÚËùÊö·§°ê×é¼þÄÚ£¬ËùÊöϲ¿·§¸ËÁ½²àÉèÓе¯»É×ù£¬ËùÊöµ¯»ÉÉèÓÚËùÊöµ¯»É×ùÉÏ£¬ËùÊö·§ÌåÏ·½ÉèÓÐÈë¿Ú£¬ËùÊö·§ÌåÓÒ²àÉèÓгö¿Ú¡£


¡¡¡¡ÓÅÑ¡µÄ£¬·§°ê×é¼þ°üÀ¨·§°ê¡¢·§°ê×ù¡¢·§°êµ¯»ÉÒÔ¼°oÐÍÃÜ·âȦ£¬ËùÊö·§°ê×ùÉèÓÚ·§°êµÄÏ·½£¬ËùÊöoÐÍÃÜ·âȦÉèÓÚËùÊö·§°êÓë·§°ê×ùÖ®¼ä£¬ËùÊö·§°êµ¯»ÉÉèÓÚËùÊö·§°ê×ùÓë·§ÌåÖ®¼ä¡£


¡¡¡¡ÓÅÑ¡µÄ£¬·§°ê³ÊtÐͽṹ£¬ËùÊö·§°êÖв¿ÉèÓа¼²Û£¬ËùÊö°¼²ÛÓëËùÊöϲ¿·§¸ËµÄµ×¶ËÏàÊÊÅä¡£


¡¡¡¡ÓÅÑ¡µÄ£¬µ¯»É×ùÓëËùÊöϲ¿·§¸Ë³Ê±ÊÖ±½á¹¹£¬ËùÊöµ¯»ÉÓëËùÊöϲ¿·§¸Ë³ÊƽÐнṹ¡£


¡¡¡¡ÓÅÑ¡µÄ£¬µ¯»É×ù°üÀ¨Éϵ¯»É×ùÒÔ¼°Ïµ¯»É×ù£¬ËùÊöÉϵ¯»É×ùÓëËùÊöϵ¯»É×ù³Ê¾¶Ïò¶Ô³ÆÂþÑÜ¡£


¡¡¡¡ÓÅÑ¡µÄ£¬Æø¶¯Ö´ÐÐÆ÷Ò»²à»¹ÉèÓеçÀÂÃÜ·âÌס£


¡¡¡¡ÓëÏÖÓÐÊÖÒÕÏà±È£¬±¾ÊÊÓÃÐÂÐ͵ÄÓÐÒæÐ§¹ûÊÇ£º


¡¡¡¡(1)±¾ÊÊÓÃÐÂÐÍͨ¹ýÆø¶¯µ÷Àí·§Öеķ§Ìå¡¢Éϲ¿·§¸Ë¡¢Ï²¿·§¸Ë¡¢·§°ê¡¢Æø¶¯Ö´ÐÐÆ÷µÈ×é¼þÖ®¼äµÄÏ໥ÅäºÏ£¬Ê¹ÓÃÆø¶¯µ÷Àí·§Äڵĵ÷Àí¸Ë£¬¿ÉÒÔÊÖ¶¯µ÷ÀíÆø¶¯µ÷Àí·§µÄËø½ô½á¹¹£¬Ê¹µÃµ÷Àí·§ÐÔÄÜÎȹÌ£¬½á¹¹¼òÆÓ£¬±ãÓÚÉú²úÖÆÔìºÍ²Ù×÷¡£


¡¡¡¡(2)±¾ÊÊÓÃÐÂÐÍͨ¹ýÔÚ·§°ê×é¼þÖÐÉèÖ÷§°ê×ùÒÔ¼°·§°êµ¯»É£¬Í¨¹ý·§°ê×ùÒÔ¼°·§°êµ¯»É£¬Ê¹Æø¶¯µ÷Àí·§¾ßÓзÀÕñ¶¯ÐԺõÄÓŵã¡£


¡¡¡¡(3)±¾ÊÊÓÃÐÂÐÍͨ¹ýÔÚ·§°ê×é¼þÖÐÉèÖÃoÐÍÃÜ·âȦ£¬Í¨¹ýoÐÍÃÜ·âȦ¿ÉÒÔÔöÌí·§°êÓëϲ¿·§¸ËµÄÃÜ·âÐÔ¡£


¡¡¡¡(4)±¾ÊÊÓÃÐÂÐÍͨ¹ýÔÚÆø¶¯µ÷Àí·§ÖÐÉèÖÃÅþÁ¬Æ÷£¬Í¨¹ýÅþÁ¬Æ÷ÅþÁ¬Æø¶¯Ö´ÐÐÆ÷ÒÔ¼°·§Ì壬ʹµÃÆø¶¯Ö´ÐÐÆ÷ÄÜ·¢¶¯·§ÌåÔËÐС£


¡¡¡¡(5)±¾ÊÊÓÃÐÂÐÍÔÚÉϲ¿·§¸ËÁ½²àÉèÖõ÷ÀíÂݸË£¬Í¨¹ýµ÷ÀíÂݸËÓëËø½ôÂÝĸ֮¼äµÄÅäºÍ£¬ÔÚÆô±Õ·§ÃÅʱ£¬È·±£·§¸Ç¡¢·§ÌåÓë·§°êÖ®¼äµÄÃÜ·âÐÔ¼á³ÖÓÅÒì¡£


¡¡¡¡(6)±¾ÊÊÓÃÐÂÐÍͨ¹ýÔÚÆø¶¯Ö´ÐÐÆ÷Ò»²àÉèÖõçÀÂÃÜ·âÌ×£¬¿ÉÒÔ½«µçÀÂÏß²ØÓÚµçÀÂÃÜ·âÌ×ÖУ¬±ÜÃâ±»Íâ½çÇéÐÎÓ°ÏìʹÓá£


¡¡¡¡¸½Í¼ËµÃ÷


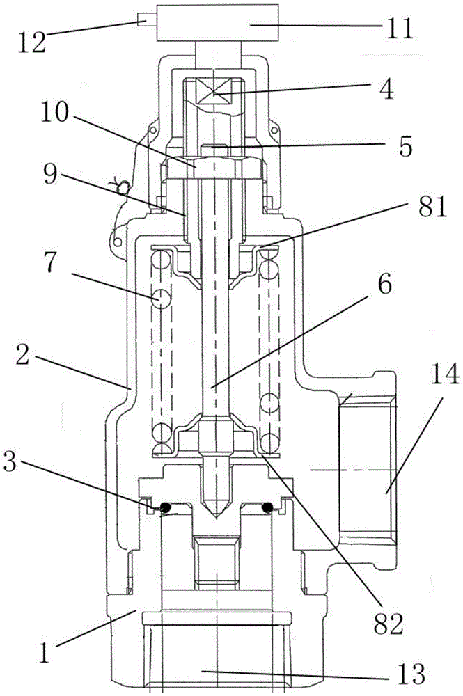
¡¡¡¡Í¼1ÎªÆø¶¯µ÷Àí·§ÕûÌå½á¹¹Í¼£»


¡¡¡¡Í¼2Ϊ·§°ê×é¼þ½á¹¹Í¼¡£


¡¡¡¡ÏêϸʵÑé·½·¨


¡¡¡¡ÏÂÃæ½«ÍŽ᱾ÊÊÓÃÐÂÐÍʵÑéÀýÖеĸ½Í¼£¬¶Ô±¾ÊÊÓÃÐÂÐÍʵÑéÀýÖеÄÊÖÒռƻ®¾ÙÐÐÇåÎú¡¢ÍêÕûµØÐÎò£¬ÏÔÈ»£¬ËùÐÎòµÄʵÑéÀý½ö½öÊDZ¾ÊÊÓÃÐÂÐÍÒ»²¿·ÖʵÑéÀý£¬¶ø²»ÊÇËùÓеÄʵÑéÀý¡£»ùÓÚ±¾ÊÊÓÃÐÂÐÍÖеÄʵÑéÀý£¬±¾ÊÂÓòͨË×ÊÖÒÕÖ°Ô±ÔÚûÓÐ×ö³ö´´Á¢ÐÔÀͶ¯Ìõ¼þÏÂËù»ñµÃµÄËùÓÐÆäËûʵÑéÀý£¬¶¼ÊôÓÚ±¾ÊÊÓÃÐÂÐͱ£»¤µÄ¹æÄ£¡£


¡¡¡¡Çë²ÎÔÄͼ1ºÍͼ2£¬±¾ÊÊÓÃÐÂÐÍÌṩһÖÖÊÖÒռƻ®£ºÒ»ÖÖÊÖ¶¯Ê½Æø¶¯µ÷Àí·§£¬°üÀ¨·§Ìå1¡¢·§¸Ç2¡¢·§°ê×é¼þ3¡¢ÅþÁ¬Æ÷4¡¢Éϲ¿·§¸Ë5¡¢Ï²¿·§¸Ë6¡¢µ¯»É7¡¢µ¯»É×ù8¡¢µ÷ÀíÂݸË9¡¢Ëø½ôÂÝĸ10ÒÔ¼°Æø¶¯Ö´ÐÐÆ÷11£¬Æø¶¯Ö´ÐÐÆ÷11ÉèÓÚ1µÄÉÏ·½£¬Æø¶¯Ö´ÐÐÆ÷11Ò»²à»¹ÉèÓеçÀÂÃÜ·âÌ×12£¬Í¨¹ýÔÚÆø¶¯Ö´ÐÐÆ÷11Ò»²àÉèÖõçÀÂÃÜ·âÌ×12£¬¿ÉÒÔ½«µçÀÂÏß²ØÓÚµçÀÂÃÜ·âÌ×12ÖУ¬±ÜÃâ±»Íâ½çÇéÐÎÓ°ÏìʹÓã¬ÅþÁ¬Æ÷4Ò»¶Ëͨ¹ýÉϲ¿·§¸Ë5ÓëÆø¶¯Ö´ÐÐÆ÷11ÅþÁ¬£¬ÅþÁ¬Æ÷4ÁíÒ»¶Ëͨ¹ýϲ¿·§¸Ë6Óë·§Ìå1Àο¿ÅþÁ¬£¬Í¨¹ýÔÚÆø¶¯µ÷Àí·§ÖÐÉèÖÃÅþÁ¬Æ÷4£¬Í¨¹ýÅþÁ¬Æ÷4ÅþÁ¬Æø¶¯Ö´ÐÐÆ÷11ÒÔ¼°·§Ìå1£¬Ê¹µÃÆø¶¯Ö´ÐÐÆ÷11ÄÜ·¢¶¯·§Ìå1ÔËÐУ¬µ÷ÀíÂݸË9ÉèÓÚÅþÁ¬Æ÷4Á½²à£¬Ëø½ôÂÝĸ10Ðý½ÓÓëµ÷ÀíÂݸË9ÉÏ£¬ÔÚÉϲ¿·§¸Ë5Á½²àÉèÖõ÷ÀíÂݸË9£¬Í¨¹ýµ÷ÀíÂݸË9ÓëËø½ôÂÝĸ10Ö®¼äµÄÅäºÍ£¬ÔÚÆô±Õ·§ÃÅʱ£¬È·±£·§¸Ç2¡¢·§Ìå1Óë·§°ê31Ö®¼äµÄÃÜ·âÐÔ¼á³ÖÓÅÒ죬·§¸Ç2ÉèÓÚÆø¶¯Ö´ÐÐÆ÷11Óë·§Ìå1Ö®¼ä£¬Ï²¿·§¸Ë6϶ËÉèÓÚ·§°ê×é¼þ3ÄÚ£¬Ï²¿·§¸Ë6Á½²àÉèÓе¯»É×ù8£¬µ¯»ÉÉèÓÚµ¯»É×ù8ÉÏ£¬µ¯»É×ù8Óëϲ¿·§¸Ë6³Ê±ÊÖ±½á¹¹£¬µ¯»ÉÓëϲ¿·§¸Ë6³ÊƽÐнṹ£¬µ¯»É×ù8°üÀ¨Éϵ¯»É×ù81ÒÔ¼°Ïµ¯»É×ù82£¬Éϵ¯»É×ù81Óëϵ¯»É×ù82³Ê¾¶Ïò¶Ô³ÆÂþÑÜ£¬·§Ìå1Ï·½ÉèÓÐÈë¿Ú13£¬·§Ìå1ÓÒ²àÉèÓгö¿Ú14£¬·§°ê×é¼þ3°üÀ¨·§°ê31¡¢·§°ê×ù32¡¢·§°êµ¯»É33ÒÔ¼°oÐÍÃÜ·âȦ34£¬·§°ê×ù42ÉèÓÚ·§°ê41µÄÏ·½£¬oÐÍÃÜ·âȦ34ÉèÓÚ·§°ê31Óë·§°ê×ù32Ö®¼ä£¬·§°êµ¯»É33ÉèÓÚ·§°ê×ù32Óë·§Ìå1Ö®¼ä£¬·§°ê31³ÊtÐͽṹ£¬·§°ê31Öв¿ÉèÓа¼²Û35£¬°¼²Û35Óëϲ¿·§¸Ë6µÄµ×¶ËÏàÊÊÅ䣬ͨ¹ýÔÚ·§°ê×é¼þ3ÖÐÉèÖ÷§°ê×ù32ÒÔ¼°·§°êµ¯»É33£¬Í¨¹ý·§°ê×ù32ÒÔ¼°·§°êµ¯»É33£¬Ê¹Æø¶¯µ÷Àí·§¾ßÓзÀÕñ¶¯ÐԺõÄÓŵ㣬ͨ¹ýÔÚ·§°ê×é¼þ3ÖÐÉèÖÃoÐÍÃÜ·âȦ34£¬Í¨¹ýoÐÍÃÜ·âȦ34¿ÉÒÔÔöÌí·§°ê31Óëϲ¿·§¸Ë6µÄÃÜ·âÐÔ¡£


¡¡¡¡Ê¹ÓÃÒªÁì


¡¡¡¡ÔÚʹÓÃÆø¶¯µ÷Àí·§Ö®Ç°£¬Ê×ÏȾÙÐÐÃÜ·âÊÔÑ飬ÔÚ·§ÃÅ´¦ÓڹرÕ״̬ʱ£¬´ÓÈë¿ÚͨµÀͨÈëÊÔÑé½éÖÊ£¬ÊÓ²ì³ö¿ÚͨµÀÓÐÎÞ×ß©¡£ÓÉÓÚ¼Ó¹¤Îó²î¡¢×°ÅäµÈ·½ÃæµÄÓ°Ï죬·§Ìå1¡¢Éϲ¿·§¸Ë5¡¢Ï²¿·§¸Ë6ÒÔ¼°·§°ê×é¼þ3Ö®¼ä»á±¬·¢Ð©Î¢µÄ¾àÀ룬Òò´ËÎÞ·¨µÖ´ïÈ«ÃÜ·â״̬£¬ÊÂÇéÖ°Ô±ÊÖ¶¯µ÷ÀíËø½ôÂÝĸ10£¬ÔÚµ÷ÀíÂݸË9ÉϾÙÐÐËø½ô·§Ìå1¡¢Éϲ¿·§¸Ë5¡¢Ï²¿·§¸Ë6ÒÔ¼°·§°ê×é¼þ3Ö®¼äËø½ô×°Öã¬Ëø½ôÂÝ10ĸ·¢¶¯µ÷ÀíÂݸË9˳ʱÕëÐýת£¬ÔÚµ÷ÀíÍâÂÝÎÆºÍµ÷ÀíÄÚÂÝÎÆµÄÅäºÏÏ£¬ÊµÏÖ¶ÔÆø¶¯µ÷Àí·§µÄËø½ôµ÷Àí¡£


¡¡¡¡Ö»¹ÜÒѾ­Ê¾³öºÍÐÎòÁ˱¾ÊÊÓÃÐÂÐ͵ÄʵÑéÀý£¬¹ØÓÚ±¾ÊÂÓòµÄͨË×ÊÖÒÕÖ°Ô±¶øÑÔ£¬¿ÉÒÔÃ÷È·ÔÚ²»ÍÑÀë±¾ÊÊÓÃÐÂÐ͵ÄÔ­ÀíºÍ¾«ÉñµÄÇéÐÎÏ¿ÉÒÔ¶ÔÕâЩʵÑéÀý¾ÙÐжàÖÖת±ä¡¢Ð޸ġ¢Ìæ»»ºÍ±äÐÍ£¬±¾ÊÊÓÃÐÂÐ͵ĹæÄ£ÓÉËù¸½È¨Á¦ÒªÇó¼°ÆäµÈͬÎïÏÞÖÆ¡£


¡¡¡¡ÊÖÒÕÌØÕ÷£º


¡¡¡¡1.Ò»ÖÖÊÖ¶¯Ê½Æø¶¯µ÷Àí·§£¬ÆäÌØÕ÷ÔÚÓÚ£º°üÀ¨·§Ìå¡¢·§¸Ç¡¢·§°ê×é¼þ¡¢ÅþÁ¬Æ÷¡¢Éϲ¿·§¸Ë¡¢Ï²¿·§¸Ë¡¢µ¯»É¡¢µ¯»É×ù¡¢µ÷ÀíÂݸˡ¢Ëø½ôÂÝĸÒÔ¼°Æø¶¯Ö´ÐÐÆ÷£¬ËùÊöÆø¶¯Ö´ÐÐÆ÷ÉèÓÚËùÊö·§ÌåµÄÉÏ·½£¬ËùÊöÅþÁ¬Æ÷Ò»¶Ëͨ¹ýÉϲ¿·§¸ËÓëÆø¶¯Ö´ÐÐÆ÷ÅþÁ¬£¬ËùÊöÅþÁ¬Æ÷ÁíÒ»¶Ëͨ¹ýϲ¿·§¸ËÓë·§ÌåÀο¿ÅþÁ¬£¬ËùÊöµ÷ÀíÂݸËÉèÓÚËùÊöÅþÁ¬Æ÷Á½²à£¬ËùÊöËø½ôÂÝĸÐý½ÓÓëËùÊöµ÷ÀíÂݸËÉÏ£¬ËùÊö·§¸ÇÉèÓÚËùÊöÆø¶¯Ö´ÐÐÆ÷Óë·§ÌåÖ®¼ä£¬ËùÊöϲ¿·§¸Ë϶ËÉèÓÚËùÊö·§°ê×é¼þÄÚ£¬ËùÊöϲ¿·§¸ËÁ½²àÉèÓе¯»É×ù£¬ËùÊöµ¯»ÉÉèÓÚËùÊöµ¯»É×ùÉÏ£¬ËùÊö·§ÌåÏ·½ÉèÓÐÈë¿Ú£¬ËùÊö·§ÌåÓÒ²àÉèÓгö¿Ú¡£


¡¡¡¡2.ƾ֤ȨÁ¦ÒªÇó1ËùÊöµÄÒ»ÖÖÊÖ¶¯Ê½Æø¶¯µ÷Àí·§£¬ÆäÌØÕ÷ÔÚÓÚ£ºËùÊö·§°ê×é¼þ°üÀ¨·§°ê¡¢·§°ê×ù¡¢·§°êµ¯»ÉÒÔ¼°oÐÍÃÜ·âȦ£¬ËùÊö·§°ê×ùÉèÓÚ·§°êµÄÏ·½£¬ËùÊöoÐÍÃÜ·âȦÉèÓÚËùÊö·§°êÓë·§°ê×ùÖ®¼ä£¬ËùÊö·§°êµ¯»ÉÉèÓÚËùÊö·§°ê×ùÓë·§ÌåÖ®¼ä¡£


¡¡¡¡3.ƾ֤ȨÁ¦ÒªÇó2ËùÊöµÄÒ»ÖÖÊÖ¶¯Ê½Æø¶¯µ÷Àí·§£¬ÆäÌØÕ÷ÔÚÓÚ£ºËùÊö·§°ê³ÊtÐͽṹ£¬ËùÊö·§°êÖв¿ÉèÓа¼²Û£¬ËùÊö°¼²ÛÓëËùÊöϲ¿·§¸ËµÄµ×¶ËÏàÊÊÅä¡£


¡¡¡¡4.ƾ֤ȨÁ¦ÒªÇó1ËùÊöµÄÒ»ÖÖÊÖ¶¯Ê½Æø¶¯µ÷Àí·§£¬ÆäÌØÕ÷ÔÚÓÚ£ºËùÊöµ¯»É×ùÓëËùÊöϲ¿·§¸Ë³Ê±ÊÖ±½á¹¹£¬ËùÊöµ¯»ÉÓëËùÊöϲ¿·§¸Ë³ÊƽÐнṹ¡£


¡¡¡¡5.ƾ֤ȨÁ¦ÒªÇó4ËùÊöµÄÒ»ÖÖÊÖ¶¯Ê½Æø¶¯µ÷Àí·§£¬ÆäÌØÕ÷ÔÚÓÚ£ºËùÊöµ¯»É×ù°üÀ¨Éϵ¯»É×ùÒÔ¼°Ïµ¯»É×ù£¬ËùÊöÉϵ¯»É×ùÓëËùÊöϵ¯»É×ù³Ê¾¶Ïò¶Ô³ÆÂþÑÜ¡£


¡¡¡¡6.ƾ֤ȨÁ¦ÒªÇó1ËùÊöµÄÒ»ÖÖÊÖ¶¯Ê½Æø¶¯µ÷Àí·§£¬ÆäÌØÕ÷ÔÚÓÚ£ºËùÊöÆø¶¯Ö´ÐÐÆ÷Ò»²à»¹ÉèÓеçÀÂÃÜ·âÌס£


¡¡¡¡ÊÖÒÕ×ܽá


¡¡¡¡±¾ÊÊÓÃÐÂÐ͹ûÕæÁËÒ»ÖÖÊÖ¶¯Ê½Æø¶¯µ÷Àí·§£¬°üÀ¨·§Ìå¡¢·§¸Ç¡¢·§°ê×é¼þ¡¢ÅþÁ¬Æ÷¡¢Éϲ¿·§¸Ë¡¢Ï²¿·§¸Ë¡¢µ¯»É¡¢µ¯»É×ù¡¢µ÷ÀíÂݸˡ¢Ëø½ôÂÝĸÒÔ¼°Æø¶¯Ö´ÐÐÆ÷£¬Æø¶¯Ö´ÐÐÆ÷ÉèÓÚ·§ÌåµÄÉÏ·½£¬ÅþÁ¬Æ÷Ò»¶Ëͨ¹ýÉϲ¿·§¸ËÓëÆø¶¯Ö´ÐÐÆ÷ÅþÁ¬£¬ÅþÁ¬Æ÷ÁíÒ»¶Ëͨ¹ýϲ¿·§¸ËÓë·§ÌåÀο¿ÅþÁ¬£¬µ÷ÀíÂݸËÉèÓÚÅþÁ¬Æ÷Á½²à£¬Ëø½ôÂÝĸÐý½ÓÓëµ÷ÀíÂݸËÉÏ£¬·§¸ÇÉèÓÚÆø¶¯Ö´ÐÐÆ÷Óë·§ÌåÖ®¼ä£¬Ï²¿·§¸Ë϶ËÉèÓÚ·§°ê×é¼þÄÚ£¬Ï²¿·§¸ËÁ½²àÉèÓе¯»É×ù£¬µ¯»ÉÉèÓÚµ¯»É×ùÉÏ£¬·§ÌåÏ·½ÉèÓÐÈë¿Ú£¬·§ÌåÓÒ²àÉèÓгö¿Ú¡£±¾ÊÊÓÃÐÂÐÍͨ¹ýÆø¶¯µ÷Àí·§Öи÷×é¼þÖ®¼äµÄÏ໥ÅäºÏ£¬Ê¹ÓÃÆø¶¯µ÷Àí·§Äڵĵ÷Àí¸Ë£¬¿ÉÒÔÊÖ¶¯µ÷ÀíÆø¶¯µ÷Àí·§µÄËø½ô½á¹¹£¬Ê¹µÃµ÷Àí·§ÐÔÄÜÎȹÌ£¬½á¹¹¼òÆÓ£¬±ãÓÚÉú²úÖÆÔìºÍ²Ù×÷¡£


±¾ÎÄÁ´½Ó£º/news/news2020820353.html
ÉÏһƪ£º¸ßѹµç¶¯µ÷Àí·§µÄÖÆ×÷ÒªÁì
ÏÂһƪ£ºÒ»ÖÖ×ÔÁ¦Ê½µ÷Àí·§µÄÖÆ×÷ÒªÁì

ÍÆ¼öÎÄÕÂ

µç¶¯µ÷Àí·§ÊÇÔõôʵÏÖµ÷ÀíµÄ-2020-06-08
Æø¶¯µ÷Àí·§ËµÃ÷Êé-2020-04-24
×ÔÁ¦Ê½µ÷Àí·§µÄÊÂÇéÔ­Àí-2020-03-31
Æø¶¯µ÷Àí·§µ÷ÊÔ°ì·¨-2019-12-30
µ÷Àí·§µÄ·§ÌåÀàÐÍÑ¡Ôñ-2019-12-19
µ÷Àí·§µÄÁ÷ÏòÑ¡ÔñºÍÁ÷Á¿ÌØÕ÷Ñ¡Ôñ-2019-12-19
ÎÒÃÇÔõÑùÑ¡Ôñ¸ßÎÂÐ͵綯µ÷Àí·§ÄØ£¿-2019-12-11
µ÷Àí·§Éè¼ÆµÄÊÖÒÕÖ¸±ê-2019-12-06
ÍøÕ¾µØÍ¼